|
飲酒が海難発生にかかわった事件
1 海難発生の状況
(1)用途、事件種類別の状況
飲酒に伴う海難は衝突ばかりでなく乗揚等多岐にわたっている
飲酒が海難発生にかかわった事件を用途別にみると、モーターボートが26隻と圧倒的に多く、ヨットが3隻、手こぎボートが1隻の30隻となっている。
また、事件種類別にみると、衝突が最も多いが、その他にも衝突(単)、乗揚、死傷等、転覆及び沈没と様々な海難が発生している。
表30 事件種類別・用途別の内訳
(飲酒が海難発生にかかわった事件)
| 区分 |
モーターボート |
ヨット |
手こぎボート |
計 |
| 衝突 |
9 |
2 |
|
11 |
| 衝突(単) |
9 |
|
|
9 |
| 乗揚 |
5 |
|
|
5 |
| 沈没 |
1 |
|
|
1 |
| 転覆 |
1 |
|
|
1 |
| 死傷等 |
1 |
1 |
1 |
3 |
| 合計 |
26 |
3 |
1 |
30 |
|
図31 事件種類別分布
(飲酒が海難発生にかかわった事件)
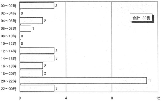
(2)海難発生時刻の状況
海難発生時刻は夜間から早朝にかけてが7割
海難発生時刻をみると、図4のとおり、20〜22時が11隻と最も多く、次いで00〜02時、12〜14時、14〜16時及び22〜00時が各3隻となっている。18〜06時の夜間から早朝にかけて、21隻70%を占めている。
以上のことから、対景を総合的に視認し難いなど周囲の状況判断により高度な技術が求められる夜間は、飲酒による注意力、判断力等の低下が海難に結びつきやすい環境となっていると考えることができる。
図32 海難発生時刻別分布
(飲酒が海難発生にかかわった事件)
(3)死傷者の発生状況
(ア)死傷者数
被害の大半は同乗者や相手船であり、自己責任だけではすまない
飲酒が海難発生にかかわった30隻中、実に20隻で死傷者が発生しており、その内訳は死亡8人、重傷11人、軽傷34人の合計53人にのぼっている。
また、衝突11件のうち相手船4隻で死傷者が発生しており、その内訳は死亡2人、重傷4人、軽傷10人の合計16人にのぼっており、これを加えると、わずか23件で死亡10人、重傷15人、軽傷44人の合計69人もの死傷者が発生している。
さらに、死傷した者の内訳をみると、死亡では船長3人、同乗者5人、相手船2人となっており、負傷では船長6人(重傷3人、軽傷3人)、同乗者39人(重傷8人、軽傷31人)、相手船14人(重傷4人、軽傷10人)となっている。
以上のことから、飲酒運航は、船長のみならず同乗者にも、また、自船のみならず相手船にも死傷を及ぼしており、自己責任だけではすまされない重大な問題を含んでいる。
※重傷:30日以上の治療を要するもの
軽傷:30日未満の治療を要するもの
図33 飲酒運航による死傷者の内訳
(飲酒が海難発生にかかわった事件)
(イ)死傷者の発生率
飲酒にかかわる死傷率は飲酒なしの2.5倍にも及ぶ
プレジャーボート海難の隻数564隻について、飲酒が海難発生にかかわった30隻と飲酒が海難発生にかかわらない534隻とに分けて、死傷者の発生率の状況をみると、飲酒が海難発生にかかわった事件の死傷率は1.8人/隻、飲酒が海難発生にかかわらなかった事件の死傷率は0.7人/隻となっており、飲酒がかかわった海難の死傷者の発生率は飲酒がかかわらない海難の2.5倍に達している。
事件種類別に、飲酒が海難発生にかかわった事件は海難発生にかかわらなかった事件の死傷者の発生率(死傷率)とを比較すると、転覆は3.3倍、乗揚は3.2倍、沈没は2.0倍、衝突(単)は1.9倍、衝突は1.0倍となっている。
プレジャーボートの飲酒運航では多くの場合、船長だけではなく同乗者も飲酒しているケースが多い。このことが海難発生時の死傷者を増加させる一因になっていることも考えられる。
表34 事件種類別飲酒がかかわった事件等の死傷率
| 事件種類 |
飲酒が海難発生にかかわった事件 |
飲酒が海難発生にかかわらない事件 |
発生の割合
A/B |
隻数
(隻) |
死傷者数
(人) |
死傷率A
(人/隻) |
隻数
(隻) |
死傷者数
(人) |
死傷率B
(人/隻) |
| 死亡 |
負傷 |
死傷計 |
死亡 |
負傷 |
死傷計 |
| 衝突 |
11 |
1 |
8 |
9 |
0.82 |
331 |
28 |
236 |
264 |
0.80 |
1.03 |
衝突
(単) |
9 |
0 |
31 |
31 |
3.44 |
26 |
2 |
46 |
48 |
1.85 |
1.9 |
| 乗揚 |
5 |
0 |
6 |
6 |
1.20 |
51 |
0 |
19 |
19 |
0.37 |
3.2 |
| 死傷等 |
3 |
3 |
0 |
3 |
1.00 |
27 |
10 |
14 |
24 |
0.89 |
1.1 |
| 転覆 |
1 |
2 |
0 |
2 |
2.00 |
33 |
15 |
5 |
20 |
0.61 |
3.3 |
| 沈没 |
1 |
2 |
0 |
2 |
2.0O |
7 |
0 |
0 |
0 |
0.00 |
2.0 |
| その他 |
0 |
0 |
0 |
0 |
0.00 |
59 |
5 |
1 |
6 |
0.10 |
0.0 |
| 合計 |
30 |
8 |
45 |
53 |
1.77 |
534 |
60 |
321 |
381 |
0.71 |
2.5 |
|
2 飲酒が操船に与える影響
飲酒による影響には個人差があり、比較的飲酒量が少ない場合でも事故が発生
飲酒が人間の能力等に与える影響については、個人差(体調等を含む)による違いはあるが、飲酒をすれば、何らかの影響がみられる。飲酒による酔いの状態は、アルコール血中濃度による目安が示されている。
飲酒が海難発生にかかわった30隻について、その酒量や経過時間から酔いの状態を推定すると、飲酒量から爽快期17隻56.7%、ほろ酔い期9隻30.0%、酩酊初期3隻10.0%、酩酊期1隻3.3%となる。
このことから、比較的飲酒量の少ない場合であっても死傷者を生じる海難が発生しており、「少ししか飲んでいないから大丈夫」といった慢心は禁物である。
表35 アルコール血中濃度と酔いの状態別の飲酒による海難発生状況
| (拡大画面:247KB) |
 |
|
|
|
なお、自動車による、酒気帯び運転の基準値は、道路交通法により血液1ミリリットル(1cc)当たり0.15mg(1mgは千分の1g)と定められている。
|