日本財団 図書館


幾つかのマルチパス緩和技術の調査の後、マルチパス制限アンテナがFAA LAASアーキテクチャに対して選択された。

 

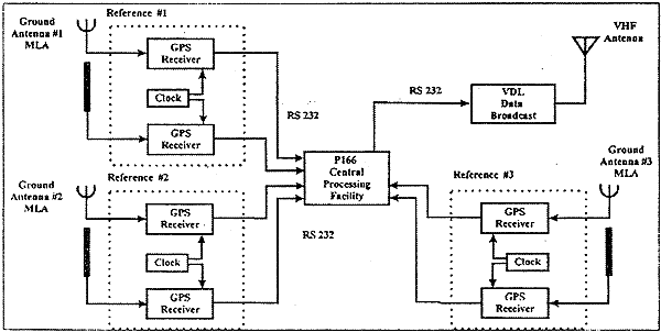
※ ディフェレンシャル補正値が3つの基準局アンテナシステムに対して計算される。基準局アンテナシステムは垂直ダイポールアンテナと高-天頂(High-zenith)アンテナからなる。各アンテナはナローコリレータGPS受信機に接続されている。現状のハードウェア導入において2つのGPS受信機が同一の時計に接続されている。

 

120-1.gif

Figure 1. Ground Subsystem Block Diagram

 

※ ディファレンシャル補正データとインテグリティ情報は、FAAが認可した112.15MHzの周波数であるVHFデータ放送を使用して航空機に放送された。

放送装置はVHFデータリンク(VDL)として引用されるものでありディフェレンシャル8フェーズシフトキーイング(D8PSK)の時分割多重アクセス構造(TDMA)を使用している。

8つのタイムスロットが使用でき、0.5秒毎に繰り返される。各タイムスロットには228バイトのデータがある。1つのVDLタイムスロットは全てのディフェレンシャル補正、積算されたドップラー、インテグリティ情報を放送するために使用される。

 

 

 

前ページ   目次へ   次ページ

 






日本財団図書館は、日本財団が運営しています。

  • 日本財団 THE NIPPON FOUNDATION