日本財団 図書館


2 Introduction(川崎造船)
 
 ISO10303はコンピュータ上で互換性のある製品データの表現や交換のための国際規格である。その目的は、特定のシステムから独立した製品のライフサイクルを通じて製品データを記述することができる中立的なシステムを提供することである。このメカニズムは、中間ファイルを使用したデータ交換だけでなく、実装の基礎となり共有製品データベースや長期保存にも適している。
 
2.1 このドキュメントの概要
 本パートはISO10303のアプリケーションプロトコルシリーズの一部である。ISO10303の本パートでは、プロセスプラント、プラントシステム、シップ(船)システムの空間構成情報を交換するためのアプリケーションプロトコル(AP)を規定する。この情報には配管、HVAC(熱、換気、空調)、電装システム構成部品とともに、他の関連するプラントシステム(機器、制御装置、構造等)の形状や空間配置特性が含まれている。この規格を使用するユーザは、プラント設計および配管、HVAC、電装システム設計の基本的な原理、概念を理解しておくべきである。
 
Figure 1−Data planning model
 
 このAPは、配管構成部品および配管系統の設計、解析、加工、導入について必要とする情報および組立てた配管の検査についての情報を交換するための必要条件を規定する。このAPは、HVAC構成部品、HVAC系統の設計、解析、導入のために必要とする情報を交換するための必要条件を規定する。このAPは、電装構成部品、電装系統の設計、導入のために必要とする情報を交換するための必要条件を規定する。このAPは、HVACと配管の構成部品、系統の機能特性を交換するための必要条件も規定する。配管系の設計情報は圧力や流量を維持することのできるポンプを指定することもできる。さらに、設計は形状の限界や必要条件、系統でのポンプの位置も指定できるが、ポンプの製作に関する情報は十分に指定できない。
 図1はこのアプリケーションプロトコルに対する必要条件のハイレベルな記述や基礎的なデータ要素間の関係を提供しているデータ計画モデルである。データ計画モデルは、plantはplant systemから、plant systemはplant itemから構成され、plant itemは、plant item上のコネクターを使用して別のplant itemに接続してもよいことを示している。plant itemの形状および空間配置情報は、item shapeによって表現される。形状表現にはコンストラクティブ・ソリッドジオメトリ(CSG)、立体境界表現(B-rep)ジオメトリ、ワイヤーフレームジオメトリおよびこれらの組合せが用いられる。plat item形状は、包絡面による表現から詳細な設計図面までさまざまなレベルでの抽象概念で表現するこができる。さらに、データ計画モデルは、変換するという概念が、このアプリケーションプロトコルの必要条件であることも示している。さらに、データ計画モデルは、変換するという概念が、このアプリケーションプロトコルの必要条件であることも示している。個々のplat item、plat item間の関係、plat itemのグルーピングに対して変換は可能である。これは、データ計画モデルに注釈付けられた全ての概念に当てはまる。
 
ISO 10303のこの分野はISO 13584【13】とともにカタログアイテムと分類を識別するために使われる場合がある。
 
 このアプリケーションプロトコルは、設備のライフサイクルに渡って、異なるエ一ジェント間でのプロセスプラント、プランシステム、シップシステム、システム構成部品、機器の設計と配置計画情報を交換するためのコンテキスト、スコープ、情報要件を定義し、これらの要求を満たすために必要とされる統合されたリソースを規定する。
 この情報を交換する理由には次のようなものが挙げられる。
−オーナーからエンジニアリング会社への要求事項の交換
−設計者とシステムエンジニア間での電装、HVAC、配管、機器設計情報の交換
−設計者と工作者間での電装、HVAC、配管、機器設計情報の交換
−設計者とシステムエンジニアまたは工作者間での電装、HVAC、配管、機器設計変更情報の交換
−エンジニアリング会社、配管製造業者、建設会社間での配管製造と検査情報の交換
−異なるエンジニアが製作した設計情報の統合
−系統および構成部品と別システムの構成部品との物理的な干渉の検出
−エンジニアリング会社、建設会社、オーナー間での電装、HVAC、配管設置情報の交換
−オーナー、エンジニアリング会社、建設会社間での完成した設備とシステム構成情報の交換
 
 アプリケーションプロトコルは、ISO 10303の開発実装にむけた基礎や、AP実装の適合性試験の一式を提供する。
 第一章ではアプリケーションプロトコルの適用範囲を定義し、APがカバーするデータや機能を要約する。第三章ではISO10303の本パートで定義された言葉のリストを挙げ、他で定義されている言葉のある場所を示している。適用範囲定義の基礎になるapplication activity modelをannex.Fに示す。アプリケーションの情報要件はそのアプリケーションに適合した専門用語を用いて第四節で規定されている。アプリケーション参照モデルとして参照している情報要件のグラフィカルな表現はannex. Gに示す。
 リソース構成要素は情報要件と合致するように解釈される。この解釈はアプリケーションインタプリテッドモデル(AIM)を生み出す。この解釈は、5.1にあるように、情報要件とAIMの間の一致を示す。AIMの原始一覧は統合リソースヘのインターフェースを規定し、5.2に示してある。
 AIMで使われる構成要素向け統合リソースで与えられている定義とEXPRESSはAIMにはインポートされない選択リスト項目やサブタイプを含むことに注意する。Annex. Aで与えられた展開一覧には注釈なしでAIM用の完全なEXPRESSを含んでいる。AIMのグラフィカルな表現はannex. Hで与えてある。特定の実装方式への追加の要件はannex. Cで与えてある。
 
2.2 前版からの変更
 この版には前版と上位互換性のある修正が盛り込まれている。EXPRESS仕様への修正は下記の場合に上位互換性がある。
−ISO10303-21に従って記号化された場合、前版のこのパートに基づいてISO10303アプリケーションプロトコルに準拠する場合、及びこの版に基づいてアプリケーションプロトコルの改定に準拠する場合。
−前版のこのパートに基づいてISO10303-22とISO10303のアプリケーションプロトコルに準拠する場合、及びこの版に基づいてアプリケーションプロトコルの改定に準拠する場合。
−前版のこのパートに基づいたISO10303アプリケーションプロトコルのマッピングテーブルがこの版に基づいてアプリケーションプロトコールの改定が無効になった場合。
 
 この版には、配管構造表示や交換、工場で組み立てられた配管の検査や組立のサポート、プレハブ式のパイプの設置を含むISO10303-227:2001の拡大部分が記載されている。この版ではHVAC(暖房、通風、冷房)構成やシステム、索道空間情報、解析データに関する情報のためにAP 227 supportが適用され、AP 227が一般建造物や造船産業にもっと役立つよう改良を加えている。
工業自動化システムと統合
製品データの表示と交換
Part 227:アプリケーションプロトコル―プラント構成
 
3 Scope(川崎造船)
 
 ISO10303のこのパートは、プロセスプラント、プラントシステム、シップシステムの構成情報交換の適用範囲、情報要件に必要な統合リソースの使用を規定する。構成情報は、システム構成部品の形状と配置を対象とする。構成情報は主にエンジニアリング、加工、据付けのライフサイクルに渡りサポートするものであるが、その下流段階の運用および保守といったライフサイクルでも有用であろう。このパートはプラント設計、システム設計、加工、検査、設置、導入の規約に対応する。
注1
 
Annex. Fのアプリケーション活動モデルはプロセスのグラフィカルな表現やISO10303の定義の基礎となる情報の流れを提供している。
注2
 
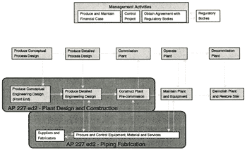
図2はプロセスプラントの基本ライフサイクルを表している。“AP 227 ed2”とラベルのついた長方形で囲まれている範囲がAP227で有効なプラントライフサイクルである。
 
(拡大画面:227KB)
Figure2−Process plant life cycle activity coverage
 
 次に挙げるものはISO10303のこの分野の適用範囲である。
−プロセスプラント、シップシステム部品の形状と配置
−システム及び構成部品の3D形状の表現
−系統構成部品および機器の3D形状の表現。表面、概略や詳細な表現、同時に外形のパラメトリックな表現も含む。
−HVAC、配管系統の機能的構成と物理的なシステム設計と機能的構成との関係
−設計、解析、配管部品製作と検査、配管系統のための情報要件
−製作した配管の検査情報
注3
 
機能構成は、接続性、順序性、構成部品サイズ、スケジュールを必要とし、機器タグ番号、機能的、物理的設計表現間の一貫性チェックを行うための要求事項などといったその他の情報も含まれている。
 
−系統の構成や空間的レイアウトに必要な基礎設計データ
−流れデータや運用特性といった、プラントシステムの機能要件参照
−系統設計で要求される要素部品と接続される機器の機能的特性の参照あるいは指定。
−プラントの確保された領域、体積、空間を占有する要素の方向、位置、形状、識別。
−系統、機器の機能特性、性能特性を規定する場合の系統、要素部品、接続される機器の仕様、規格、ガイドライン、規則への参照
例1
 
材質と溶接の要求事項を含む物理的特性
例2
 
ISO10303−221【3】、ISO13584【3】を含む規格を参照
 
−構成部品に関連したカタログ情報の識別
−構成部品定義を含むカタログ識別
−構成部品と接続される機器およびそれらの空間配置状態
注4
 
状態のラベルはプロジェクトの実行を制御、監視するためのプロジェクト管理に使われる。「preliminary」「in-work」「released for fabrication」といったラベルはラベルが適用されている設計やレイアウトの次の行動の適切性や完成度合いを決定するために使われる。
 
−電線、HVAC、配管の要素部品、機器のための接続や接続のための要求事項
−要素部品の入手をサポートするために十分詳細な要素部品定義
−系統情報の異なるバージョン間での変更要求承認、通知、確認、追跡およびplant itemの変更と属性の追跡
注5
 
ISO10303のこの分野では、特定の変更情報のみが記述され適用範囲に入っている。変更プロセスそのものは適用範囲外である。
 
−要求されるプロセスに対する要素部品の適合性を評価するために十分詳細な配管、HVAC系統が運ぶ流体の化学的組成の仕様
−データ交換
−規格システムヘの外部参照
−標準部品への外部参照
−標準部品表現への外部参照
 
 次に挙げるものはISO10303本パ一トの適用範囲外である
−図式表現
例3
 
P&IDやプロセスフローダイヤグラム(PFDs)を含む図式表現
 
仕様、標準、ガイドライン、規則の中身
配管仕様の準備
輸送(logistics)と材料(material)管理
プロセスフロー設計のための十分詳細な配管系統が運ぶ流体の科学的組成の仕様
プロセス設計と概念設計
例4
 
プロセス設計にはプロセスの流体とヒートバランス、プロセスフロー図の設計、機器のサイズ決定といった活動などを含む。
 
−プラントの試験、発注、引渡し、メンテナンス、廃棄
−プラント運営手順
−購買や契約といった商業的な部分
例5
 
商業的側面とは、価格、期間、条件、支払いスケジュールなどを含む
 
−変更や承認の指示以外での、製品やプロジェクトのライフサイクルにわたって変化し増加するデータを管理するために必要な情報
−履歴データ
−機器内部の設計やメンテナンス







日本財団図書館は、日本財団が運営しています。

  • 日本財団 THE NIPPON FOUNDATION