|
5.2.48 4.2.132 Flanged
FlangedはPiping_connector(4.2.267参照)端部のかみ合う形状の一種であり、周囲に穴の開いた表面仕上げを施した円形盤からなる。
注 |
穴は2つの接合されたフランジを1つにボルト止めするのに使用される。その合致面は2つの接合されたフランジコネクタの圧力によってガスケットと共にしっかりと接合する。フランジ接合は分解できる。 |
5.2.49 4.2.133 Flanged_end
Flanged_endはPiping_connector(4.2.267参照)端部の一種であり、適合するFlanged_endと結合させるためのボルトの挿入を助ける材質からなる円盤である。
注 |
Figure24は標準的なFlanged_endをあらわす。 |
| (拡大画面:23KB) |
 |
Figure 24−Flanged_end
Flanged_endに関連するデータは下記の通り。
−face_finish;
−face_type;
−flange_inside_diameter;
−flange_outside_diameter;
−flange_thickness;
−raised_face_diameter;
−raised_face_height;
−ring_bottom_radius;
−ring_diameter;
−ring_width.
5.2.50 4.2.133.1 face_finish
face_finishはFlange(4.2.131参照)表面の粗さや溝パターンである。
5.2.51 4.2.133.2 face_type
face_typeは、その形状特徴に基づいて、Flange(4.2.131参照)の合致面の分類される。
例 |
face_typeの名称例にはraised_face、flat_face、ring_type_joint、male_face_of_male_and_female、female_face_of_male_and_female、male_face_of_tongue_and_groove、female_face_of_tongue_and_grooveが含まれる。 |
注 |
Figures25〜29はこれらのface typesを表す。 |
Figure25−Raised face flange
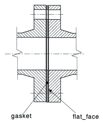
Figure 26−Flat face flange
Figure27−Ring type joint flange
| (拡大画面:13KB) |
|
Figure 28−Male and female flange
| (拡大画面:14KB) |
|
Figure 29−Tongue and groove flange
5.2.52 4.2.133.3 flange_imside_diameter
flange_inside_diameterは作用点でのFlange(4.2.131参照)の内径をである。一つの値か範囲値として定義される場合がある。
注 |
一つの値または範囲値を割り当てる可能性のある属性論についてはannex Lを参照。 |
5.2.5 4.2.133.4 flange_outside_diameter
flange_outside_diameterはFlange(4.2.131参照)の外径である。一つの値か範囲値として定義される場合がある。
注 |
一つの値または範囲値を割り当てる可能性のある属性論についてはannex Lを参照。 |
5.2.54 4.2.133.5 flange_thickness
flange_thicknessはFlange(4.2.131参照)の外と内の距離である。一つの値か範囲値として定義される場合がある。
注 |
一つの値または範囲値を割り当てる可能性のある属性論についてはannex Lを参照。 |
5.2.55 4.2.133.6 raised_face_diameter
raised_face_diameterはFlange(4.2.131参照)面を横切って測った直径である。一つの値か範囲値として定義される場合がある。
注 |
一つの値または範囲値を割り当てる可能性のある属性論についてはannex Lを参照。 |
5.2.56 4.2.133.7 raised_face_height
raised_face_heightは、Flange(4.2.131参照)面の高い部分から低い部分までを測った垂直距離である。一つの値か範囲値として定義される場合がある。
注 |
一つの値または範囲値を割り当てる可能性のある属性論についてはannex Lを参照。 |
5.2.57 4.2.133.8 ring_bottom_radius
ring_bottom_radiusはリング底の半径である。ring_bottom_radiusは、特定のFlanged_endに必要ないかもしれないが、必要な場合にはraised_face_diameter、raised_face_height、ring_diameter及びring_widthも定義されなければならない。
5.2.58 4.2.133.9 ring_diameter
ring_diameterはFlanged_endのリングの直径である。ring_bottom_radiusは、特定のFlanged_endに必要ないが、必要な場合にはraised_face_diameter、raised_face_height、ring_bottom_radius及びring_widthも定義されなければならない。
5.2.59 4.2.133.10 ring_width
ring_widthはFlanged_endのリングによって形成された溝の幅である。ring_widthは特定のFlanged_endに必要ないが、必要な場合にはraised_face_diameter、raised_face_height、ring_bottom_radius及びring_diameterも定義されなければならない。
5.2.60 4.2.134 Flared_end
Flared_endは、開口の一種を形成しながら内径と外径の厚さが端部で変わらないend_typeである。
Flared_endに関連するデータは下記の通り。
−diameter;
−thickness.
5.2.61 4.2.134.1 diameter
diameterとはflareの端部の内径(最大点)である。
5.2.62 4.2.134.2 thickness
thicknessは直径を測定した場所のFitting(4.2.131参照)の厚さである。
5.2.63 4.2.135 Flexible_connection
Flexible_connectionはPlant_item_connection(4.2.288参照)の一種であり、そこでは2つのPlant_item_connector(4.2.290参照)が物理的に接続しているが、接続しているPlant_item(4.2.285参照)の動きには何の影響も与えない。
例 |
ポンプがFlexible_connectionを使ったターミナルで電線と接続されている場合、そのポンプが回転している時に電線が回転する必要はないが、確実に接続されていなければならない。 |
5.2.64 4.2.136 Fluid_transference
Fluid_transferenceはPlant_item_connection(4.2.288参照)の一種であり、気体、気化物質、液体あるいは固形物の移動手段としてのconnectionの目的や役割をもつ。
5.2.65 4.2.137 Free_form_curve
Free_form_curveはCurve(4.2.97参照)の一種であり、一次元での連続した点の集まりである。
|