“ú–{à’c@}‘ŠÙ


4.Šî–{ƒ‚ƒfƒ‹ŽÀŒ±
4.1Šî–{ƒ‚ƒfƒ‹ŽÀŒ±‚ÌŠT—v
@
1)ŽÀŒ±‚Ì–Ú“I
@‰¡Œ^‚ë‰ß‘•’u‚ÌŠî–{“Á«‚ÌŠm”F‚ðs‚¤‚±‚Æ‚ð–Ú“I‚Æ‚·‚éB
@
2)ŽÀŒ±‚Ì•û–@
@•\4-1‚ÉŽÀŒ±‚ÌðŒ‚ðŽ¦‚·B
•\4-1ŽÀŒ±‚ÌðŒ
Œ´…”Z“xSS(mg/1) 0.0`5.0
ˆ——¬‘¬(LV)(m/h) 100`200
‚ë‘wŒú(’·‚³)*(cm) 35`70
‚ë‘w‚̈³k—¦*(%) 0`10
–‚ë‘wŒú‚ÍA‘•’u‚ɓГü‚µ‚½‚ëÞ‚Ì‘w‚ÌŒú‚³‚ðŽ¦‚·B
@‚ë‘w‚̈³k—¦‚ÍA‘•’u‚ɓГü‚µ‚½‚ë‘wŒú‚ɑ΂µ‚Ĉ³k‚³‚ê‚ÄŒ¸­‚µ‚½Œú‚³‚ÌŠ„‡‚ðŽ¦‚·B
ŽÀŒ±‚ÌŒ´…‚Æ‚µ‚Ä‚ÍAƒJƒIƒŠƒ“‚ð‰˜‘÷•‰‰×‚Æ‚µ‚Ä—p‚¢‚éB
ŽÀŒ±‚Ì‘ª’耖ڂɂ‚¢‚ÄŽŸ‚ÉŽ¦‚·B
@
@(‘ª’耖Ú)
@[1]Œ´…Aˆ—…‚Ì…Ž¿@SS
@[2]Œ´…Aˆ—…‚Ì—±“x•ª•z
@[3]‚ë‘w‘OŒã‚Ì·ˆ³(Œ´…“ü‚èŒûAˆ—…oŒû)
@[4]—¬—Ê
@[5]‚ë‘w‚̈³k—¦
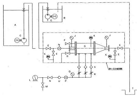
}4-1‚É‚ëÞ‚ðˆ³k‚µ‚È‚¢ê‡‚ÌŽÀŒ±‘•’u‚Æ‘ª’èŒn‚ɂ‚¢‚ÄŽ¦‚·B
}4-1@ŽÀŒ±‘•’u‚Æ‘ª’èŒn(‚ëނ̈³k‚ª‚È‚¢ê‡)
@
}4-2‚É‚ÍA‚ëÞ‚ðˆ³k‚·‚éꇂ̎ÀŒ±‘•’u‚Æ‘ª’èŒn‚ðŽ¦‚·B‚ëނ̈³k‚Í‘•’u“à‚ÉÝ‚¯‚½ŽxŽ–_‚É‚æ‚è‚ëÞ•\–ʂ̎d؂蔂ɑ΂µ‚Ä—Í‚ð‰Á‚¦‚Äs‚¤B
}4-2@ŽÀŒ±‘•’u‚Æ‘ª’èŒn(‚ëÞ‚ðˆ³k‚·‚éê‡)
@
}4-3‚ÉŽÀŒ±–ÍŒ^‚Ì•½–Ê}‚Æ‘¤–Ê}‚ðA}4-4‚É’f–Ê}‚ðŽ¦‚·B
‚Ü‚½A}4-5‚ÉŽÀŒ±‘•’u‚̃tƒ[‚ðŽ¦‚·B
ŽÊ^4-1`4-3‚É‚ÍAŽÀŒ±–ÍŒ^‚ÌŠOŠÏ‚ðŽ¦‚·B
}4-3@ŽÀŒ±–ÍŒ^‚Ì•½–Ê}A‘¤–Ê}
@
}4-4@ŽÀŒ±–ÍŒ^‚Ì’f–Ê}
@
}4-5@ŽÀŒ±‘•’u‚̃tƒ[








“ú–{à’c}‘ŠÙ‚ÍA“ú–{à’c‚ª‰^‰c‚µ‚Ä‚¢‚Ü‚·B

  • “ú–{à’c THE NIPPON FOUNDATION