日本財団 図書館


別図第一号(第7条第17項関係)

 

1 インマルサットA型の送信設備のスプリアス発射の強度の許容値

184-1.gif

 

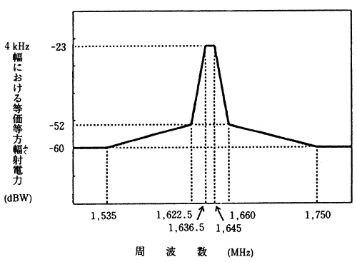
2 インマルサットC型の送信設備のスプリアス発射の強度の許容値

184-2.gif

 

 

 

前ページ   目次へ   次ページ

 






日本財団図書館は、日本財団が運営しています。

  • 日本財団 THE NIPPON FOUNDATION