日本財団 図書館


012-1.gif

Fig. 10 Effect of highest loading factor on net output power and total packed column volume

 

012-2.gif

Fig. 11 Effect of size of packing on net output power and total packed column volume

 

012-3.gif

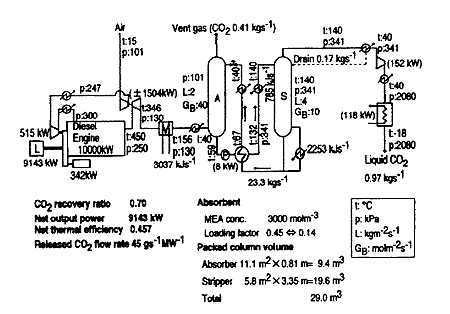
Fig. 12 Flow sheet of a diesel engine system and detailed operating conditions

 

4.3 Effects of Packing Size

Fig. 11 shows the effect of the packing nominal size: the size does not change the net output power and the CO2 recovery ratio: but larger nominal size of the packing results in larger total volume of the packed columns.

 

4.4 Detail of Operating Condition

A detail data set of the operating conditions of the diesel engine with CO2 recovery equipment is shown in Fig. 12. A maximum CO2 recovery ratio of 70% is obtained at expense of engine output power of 860 kW.

 

5. Discussion

5.1 Limit of CO2 Recovery Ratio

Correlations of the CO2 partial pressures in the gas phase with the CO2 loading factor in the liquid phase both in the absorbing column and in the stripping column, which are calculated for the reference calculation condition, are shown as the solid lines, called operating lines, in Figs. 13 and 14 respectively; in which the operating lines are drawn for three CO2 recovery ratios, αR. Also equilibrium lines, the dotted lines in Figs. 13 and 14, for correlations of the equilibrium CO2 partial pressure of the liquid phase with the CO2 loading factor are shown. Distance between the operating line and the equilibrium line indicates degree of CO2 transfer driving force.

The equilibrium lines bend around CO2 loading factor of 0.4, and the equilibrium pressure of CO2 increases steeply when the CO2 loading factor exceeds about 0.4. On the other hand, the operating lines of the absorber can be regarded as straight ones, although those of the stripper slightly curve downward due to condensation of the stripping steam.

 

012-4.gif

Fig. 13 Distribution of CO2 partial pressure and loading factor in absorber on reference calculation conditions

 

 

 

BACK   CONTENTS   NEXT

 






日本財団図書館は、日本財団が運営しています。

  • 日本財団 THE NIPPON FOUNDATION