|
3 AAM(Application Activity Model)(応用活動モデル)[SHI/USC]
ここでは船のライフサイクルに於ける各Activity(活動)を記述する。AP216のドキュメントはMoulded Formsを中心に各Activityの関係を記述してある。Activityだけを抽出すると下記のようになる。この中で*印はAP216のScopeの範囲外を示している。
| (拡大画面:85KB) |
 |
Moulded FormのActivityの概念をIDEF0の表記法で記述すると下図のようになる。
図3−1 IDEF0表記法
DISのドキュメントには前述の全Activityに対して、IDEF0表記法を用いて記述されているが、ここではA1221 create preliminary hull form(初期船体形状生成)のActivityに適用したものを1例として下図に示す。これにより初期船体形状生成の全体の活動が理解されやすくなっている。
図3−2 初期船体形状生成時のAAM
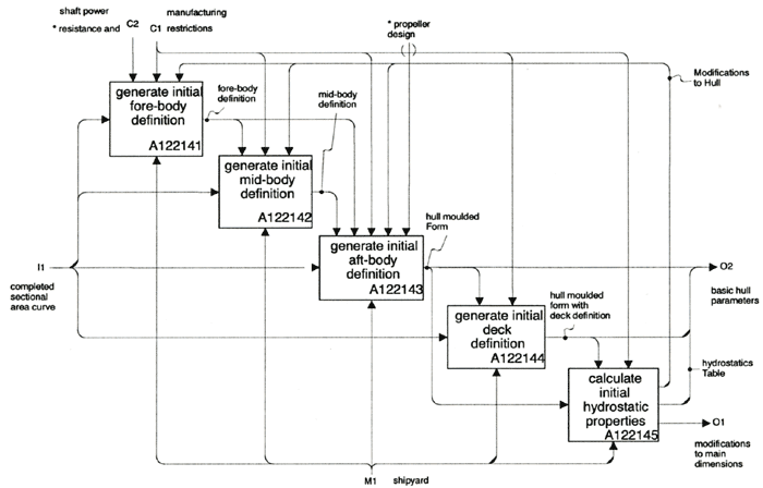
上記Activityの中のNodel2214(初期船体形状の生成)を更にブレークダウンすると次ページの図3-3ようになる。これにより初期船体形状が生成された後に初期のハイドロスタティックス計算が行われることが判るようになっている。
| (拡大画面:85KB) |
 |
| 図3.3 |
Node A12214 generate initial hull form definition |
|