|
APPENDIX
本文で引用したAppendixとして以下のものを添付する。
・APPENDIX 4−1:AP215 DIS Annex F AAM Diagram 抜粋
・APPENDIX 4−2:AP215 DIS Annex F AAM Definitions 抜粋
APPENDIX 4−1:AP215 DIS Annex F AAM Diagram 抜粋(1/3) Perform ship life cycle
| (拡大画面:48KB) |
 |
APPENDIX4-1:AP215 DlS Annex F AAM Diagram 抜粋(2/3) Create preliminary design
| (拡大画面:57KB) |
 |
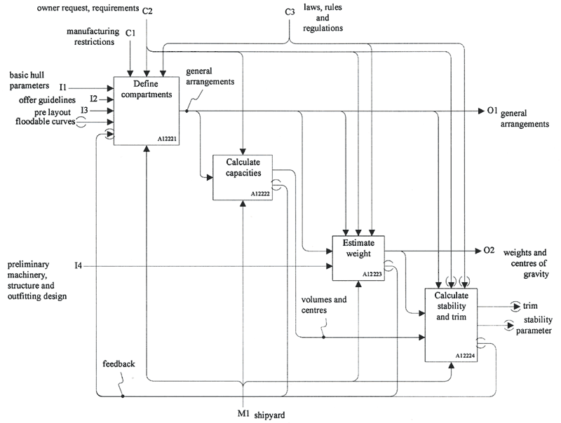
APPENDIX4−1:AP215 DlS Annex F AAM Diagram 抜粋(3/3) Ship general arrangement
| (拡大画面:36KB) |
 |
|