日本財団 図書館


(1) 就職・就業・起業に対する支援

183-1.gif

 

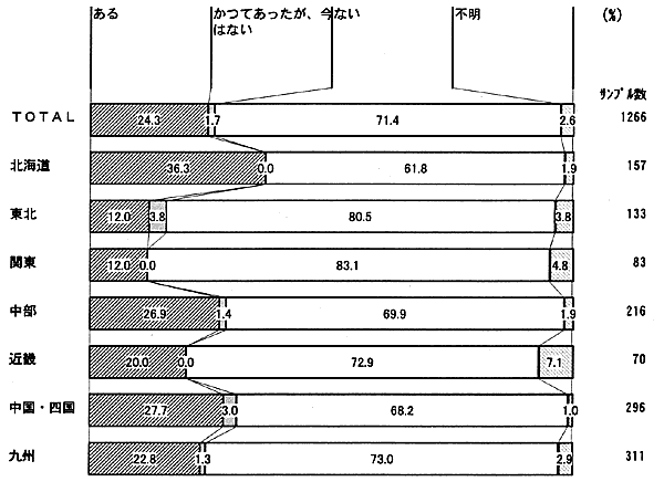
1] 地方別

・北海道では「ある」と回答した市町村が36.3%となっており、他と比べて若干高い。

・一方、東北地方、関東地方では「ある」と回答した市町村が、両者ともに12.0%と低い割合にとどまっている。

 

183-2.gif

 

 

 

前ページ   目次へ   次ページ

 






日本財団図書館は、日本財団が運営しています。

  • 日本財団 THE NIPPON FOUNDATION