日本財団 図書館


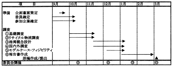
(3) 調査スケジュール

 

調査期間:平成11年10月26日〜平成12年3月31日

 

調査スケジュール表を表-2に示す。

 

表-2 調査スケジュール

011-1.gif

 

 

 

前ページ   目次へ   次ページ

 






日本財団図書館は、日本財団が運営しています。

  • 日本財団 THE NIPPON FOUNDATION